公司邮箱
设为首页
加为收藏
返回首页
首页
关于圣安
产品展示
>
产品中心
>
产品应用
资质证书
新闻资讯
招贤纳才
联系我们
您当前位置:首页 >
产品中心
>
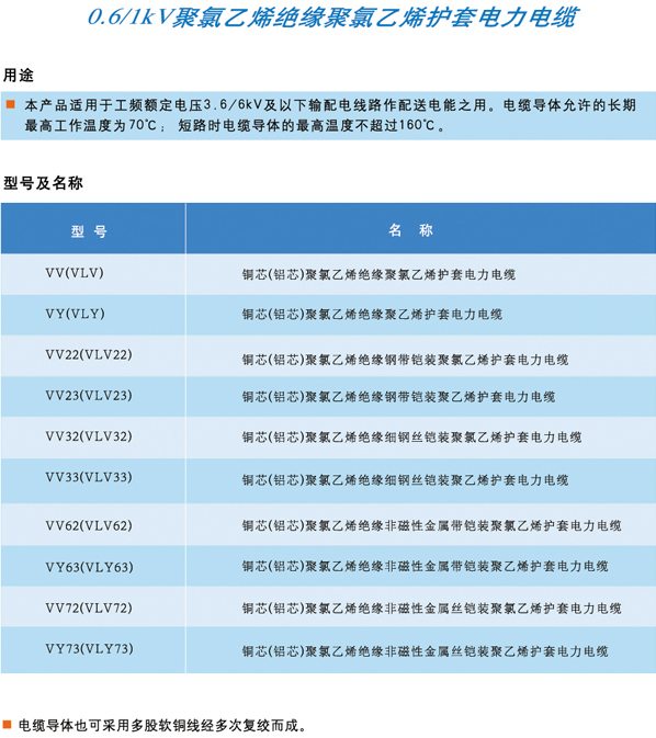
0.6/1kv聚氯乙烯绝缘聚氯乙烯护套电力电缆
点击数:8444次 添加时间:2013-04-20 [
打印
] [
收藏
]
[返回]
点击数:8444次 添加时间:2013-04-20 [
打印
] [
收藏
]
[返回]
主要产品
产品中心
产品应用
首页
|
产品介绍
|
联系我们
|
企业邮箱
CopyRight (c)2012-2013 SHENGAN CABLE CO.,LTD.圣安电缆有限公司
地址:江苏省宜兴市
高塍镇范道圣安路8号
电话:0510-87247968 人力资源:0510-87247001 网址:
www.samson-cable.com
E-mail:js_sheng.an@163.com
网站管理
苏ICP备12001143号-1